Playstation5

Ps5 Kuehlung

Ps5 Patent Enthullt Das Kuhlssystem Des Dev Kits Im Detail
www.play3.de

Playstation 5 Neue Bilder Vom Devkit Design Der Ps5 Konsole Winfuture De
winfuture.de

Wie Sieht Die Playstation 5 Aus Ein Fan Erstellt Ein Schickes Ps5 Design Der Konsole
dailygame.at

Nie Wieder Dusenjet Die Ps5 Bekommt Leisere Luftung
www.turn-on.de

Heisses Teil Neues Patent Zeigt Die Massive Kuhlung Des Ps5 Dev Kits
www.4kfilme.de

Ps5 Darum Sieht Das Dev Kit So Ungewohnlich Aus
www.giga.de

Playstation 4 pro 1tb console.

Ps5 kuehlung. Free shipping by amazon. News zur ps5 hardware kuehlung meinungen zum ps5 design fragen zu ps5 preis ps5 pro ssd tflops spiele hier behandeln wir news und beantworten die hae. Coverage also includes the ps4 pro.

The bandwidth of 80211g adds about 50ms of latency while the bandwidth of 802. Ps5 rumors news speculation concepts price pics articles release games community and more. Neues patent wirkt kurios sony patentiert ein neues abklingzeitsystem fuer die ps5 das das lueftergeraeusch verringert mit dem viele spieler probleme bei der ps4 hatten.

Wifi 6 is a huge improvement and changes the whole game basically. Amazons choice for ps5. The 40 minute.

The ps5 is closer than ever and sony is expected to reveal the release date price and selection of launch games on september 16th as part of the playstation 5 showcase. It will be a network beast. More buying choices 32900 102 used new offers assassins creed valhalla gold steelbook edition playstation 5.

Wifi 6 80211ax has better latency as compared to wifi 5 80211ac and for gaming that is critical. Get it as soon as sat sep 19.

Ps5 Inoffizielle 3d Bilder Zeigen Wie Neue Kuhlung Aussehen Konnte
www.gamepro.de

3
encrypted-tbn0.gstatic.com

Ps5 Soll Wegen Uberhitzung Spater Kommen Aber Vorsicht Bei Diesem Gerucht
www.gamepro.de

Ps5 Inoffizielle 3d Bilder Zeigen Wie Neue Kuhlung Aussehen Konnte
www.gamepro.de

Wird Die Ps5 Uber Das Kuhlsystem Des Dev Kits Verfugen
www.playcentral.de

Playstation 5 Leak Um 9 2 Teraflops War Echt 10 28 Tf Nur Dank Boost Modus
www.xboxdynasty.de

Playstation 5 Event Sony Hat Zwei Designs Der Ps5 Enthullt Lasst Sich Das Gut Kuhlen Seite 15
extreme.pcgameshardware.de

Wird Die Ps5 Leiser Als Die Ps4 Sony Plant Angeblich Teuren Lufter
www.gamepro.de

Ps5 Neuer Leak Bestatigt Preis Und Starttermin
www.oe24.at

Ps5 Laustarke Kein Thema Mehr Patent Leakt Neues Kuhlsystem Ps5
www.ingame.de

Ohyfkkbycvillm

Ps5 Mit Super Kuhlung Patent Schlagt Flussiges Metall Vor Glbnews Com
at.glbnews.com

Wird Die Ps5 Uber Das Kuhlsystem Des Dev Kits Verfugen
www.playcentral.de

Xbox Series X Vs Playstation 5 Welche Konsole Wird Besser
gaminggadgets.de

Ps5 Xbox Series X Sind Leisere Konsolen Trotz Leistungssprung Realistisch
www.gamepro.de

Die Ps5 Wird Leiser Sein Als Die Ps4 Verspricht Sony
www.gamepro.de

Playstation 5 Bild Zeigt Riesige Ps5 Konsole Im Vergleich Zur Xbox Series X
www.xboxdynasty.de

Ps5 Treibt Ein Aufwandiges Kuhlungssystem Den Preis Nach Oben Nat Games
www.nat-games.de

Ps5 Patent Enthullt Das Kuhlssystem Des Dev Kits Im Detail
www.play3.de

Ein Patent Zeigt Das Kuhlsystem Des Sony Playstation 5 Devkit Im Detail Notebookcheck Com News
www.notebookcheck.com

Ps5 Mit Super Kuhlung Neues Patent Wirkt Kurios
dailygame.at

Pixel 5 Show 4 Ps5 News Ps5 Kuhlung Q A Ps5 Design Meinungen Youtube
m.youtube.com

Ps5 Mit Super Kuhlung Patent Schlagt Flussiges Metall Vor
news.google.com

Leisere Konsole Ps5 Soll Mithilfe Von Flussigmetall Gekuhlt Werden
www.gamepro.de

Playstation 5 Gegen Ps4 Ps4 Pro Ist Ps5 Viel Leistungsfahige
www.pocket-lint.com

Ps5 Patent Enthullt Das Kuhlssystem Des Dev Kits Im Detail
www.play3.de

Playstation 5 Sony Nennt Die Wichtigsten Details Der Ps5 Hardware Winfuture De
winfuture.de

Ps5 8 Details Die Sony Bisher Verschwiegen Hat Und Die Fans Interessiert
dailygame.at

Playstation 5 Hat Die Neue Konsole Ein Hitzeproblem News Von Gameswelt
www.gameswelt.ch

Ein Patent Zeigt Das Kuhlsystem Des Sony Playstation 5 Devkit Im Detail Notebookcheck Com News
www.notebookcheck.com

Ps5 Mit Diesem Neuen Patent Wird Die Neue Konsole Besser Gekuhlt
dailygame.at

Ps5 Patent Enthullt Das Kuhlssystem Des Dev Kits Im Detail
www.play3.de

Ein Patent Zeigt Das Kuhlsystem Des Sony Playstation 5 Devkit Im Detail Notebookcheck Com News
www.notebookcheck.com

Ps5 Design Entwurfe Auf Dualsense Basis Veroffentlicht Update
www.play3.de

Ps5 Keine Uberhitzungsgefahr Angeblich Aufwandiges Kuhlsystem Integriert
www.play3.de

Ps5 Ps4 Pro Kuhlung Optimieren Gamestar Pinboard
www.gamestar.de

Ps5 Mit Diesem Neuen Patent Wird Die Neue Konsole Besser Gekuhlt
dailygame.at

Patent Aufgetaucht Ps5 Kuhlung Mit Flussigmetall Computer Bild Spiele
www.computerbild.de

Ps5 Patent Enthullt Das Kuhlssystem Des Dev Kits Im Detail
www.play3.de

Wird Die Ps5 Uber Das Kuhlsystem Des Dev Kits Verfugen
www.playcentral.de

Playstation 5 Devkit Der Kommenden Konsole Geleakt Hifi De
hifi.de

Ps5 Uberraschung Dieses Feature Konnte Endlich Altes Problem Losen Futurezone De
www.futurezone.de

Ps5 Patent Enthullt Das Kuhlssystem Des Dev Kits Im Detail
www.play3.de

Https Encrypted Tbn0 Gstatic Com Images Q Tbn 3aand9gctwyeeqtcndskopgza 39jed4ui5gafrbtfag Usqp Cau

Heisses Teil Neues Patent Zeigt Die Massive Kuhlung Des Ps5 Dev Kits
www.4kfilme.de

Leisere Konsole Ps5 Soll Mithilfe Von Flussigmetall Gekuhlt Werden
www.gamepro.de

Ein Patent Zeigt Das Kuhlsystem Des Sony Playstation 5 Devkit Im Detail Notebookcheck Com News
www.notebookcheck.com

Wie Innovativ Ist Die Playstation 5 Youtube
www.youtube.com

Ein Patent Zeigt Das Kuhlsystem Des Sony Playstation 5 Devkit Im Detail Notebookcheck Com News
www.notebookcheck.com

Wird Die Ps5 Uber Das Kuhlsystem Des Dev Kits Verfugen
www.playcentral.de

Ps5 Neues Patent Zeigt Ein Vielversprechendes Kuhlsystem
www.playcentral.de

Leisere Konsole Ps5 Soll Mithilfe Von Flussigmetall Gekuhlt Werden
www.gamepro.de

Pixel5show 4 Ps5 News Ps5 Kuhlung Q A Ps5 Design Meinungen Youtube
www.youtube.com

Ps5 Wohl Doch Hoher Preis Zum Release Wegen Neuartigen Kuhlungssystem Ps5
www.ingame.de

Next Gen Konsolen Ssds Kuhlung Und Mehr
www.pcgames.de

Sony Ps5 Ist So Gross Damit Die Kuhlung Leise Ist Foraum
www.foraum.de

Ein Patent Zeigt Das Kuhlsystem Des Sony Playstation 5 Devkit Im Detail Notebookcheck Com News
www.notebookcheck.com

Pixel5show 10 Ps5 News Preis Kuhlung Produktion Lauft An Thema Apps Youtube
www.youtube.com

Ein Patent Zeigt Das Kuhlsystem Des Sony Playstation 5 Devkit Im Detail Notebookcheck Com News
www.notebookcheck.com

Wird Die Ps5 Uber Das Kuhlsystem Des Dev Kits Verfugen
www.playcentral.de

Ein Patent Zeigt Das Kuhlsystem Des Sony Playstation 5 Devkit Im Detail Notebookcheck Com News
www.notebookcheck.com

Ein Patent Zeigt Das Kuhlsystem Des Sony Playstation 5 Devkit Im Detail Notebookcheck Com News
www.notebookcheck.com

Ps5 Patent Enthullt Das Kuhlssystem Des Dev Kits Im Detail
www.play3.de

Playstation 5 Bild Zeigt Beide Konsolen In Liegender Position
www.pcgameshardware.de

Ps5 Viel Aufwand Fur Eine Leisere Luftung Grosse Der Konsole Erklart
www.play3.de

Ps5 Wird Endlich Leise Neuer Lufter Soll Uberhitzungsproblem Losen
www.gamepro.de

Playstation 5 Was Das Boost Feature Fur Die Ps5 Bedeutet Eurogamer De
www.eurogamer.de

Https Encrypted Tbn0 Gstatic Com Images Q Tbn 3aand9gcqgcalvztyfsko W5yqutf1k Xmpevpjw4n96ak6clwwc Hk8kf Usqp Cau
encrypted-tbn0.gstatic.com

Ps5 Patent Enthullt Das Kuhlssystem Des Dev Kits Im Detail
www.play3.de

Wird Die Ps5 Leiser Als Die Ps4 Sony Plant Angeblich Teuren Lufter
www.gamepro.de

Playstation 5 Ist Grosser Um Fur Bessere Kuhlung Zu Sorgen
www.pcgameshardware.de

Darum Ist Die Playstation 5 So Riesig Futurezone At
futurezone.at

Heisses Teil Neues Patent Zeigt Die Massive Kuhlung Des Ps5 Dev Kits
www.4kfilme.de

3
encrypted-tbn0.gstatic.com

Ps5 Sony Patent Konnte Das Kuhlsystem Der Konsole Zeigen
www.gamepro.de

Playstation 5 Kuhlung Mit Flussigmetall Computer Bild
www.computerbild.de

Ein Patent Zeigt Das Kuhlsystem Des Sony Playstation 5 Devkit Im Detail Notebookcheck Com News
www.notebookcheck.com

Https Encrypted Tbn0 Gstatic Com Images Q Tbn 3aand9gcq8ehb4b6kpfyjag4zd63 Nptts1cl4jg7f24bqcnwydzghzrr Usqp Cau
encrypted-tbn0.gstatic.com

Ps5 Xbox Series X Sind Leisere Konsolen Trotz Leistungssprung Realistisch
www.gamepro.de

Ps5 Inoffizielle 3d Bilder Zeigen Wie Neue Kuhlung Aussehen Konnte
www.gamepro.de

Ck3hcjjo1p5 Dm

Ps5 Sony Patent Konnte Das Kuhlsystem Der Konsole Zeigen
www.gamepro.de

Ps4 Pro Sony Launcht Neues Modell Mit Leiser Kuhlung Updated
www.otto.de

Ps5 Die Grosse Der Konsole Hat Einen Guten Grund
www.pcgames.de

Ps5 Wird Endlich Leise Neuer Lufter Soll Uberhitzungsproblem Losen
www.gamepro.de

Ps5 Patent Enthullt Das Kuhlssystem Des Dev Kits Im Detail
www.play3.de

Ps5 Inoffizielle 3d Bilder Zeigen Wie Neue Kuhlung Aussehen Konnte
www.gamepro.de

Playstation 5 Patent Deutet Vapor Chamber Kuhlung An Reddit Baut Es Einfach Nach
www.pcgameshardware.de

Playstation 5 Weltpremiere Der Star Im Wohnzimmer Pc Welt
www.pcwelt.de

Ps5 Konnte Speicherkassetten Wie Die Switch Bekommen
www.spieletipps.de

Sony Hat Die Playstation 5 Ein Uberhitzungsproblem
www.4kfilme.de

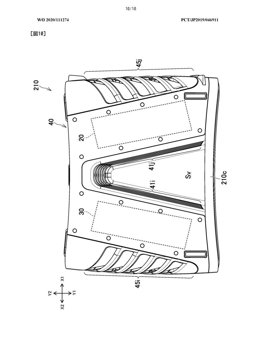
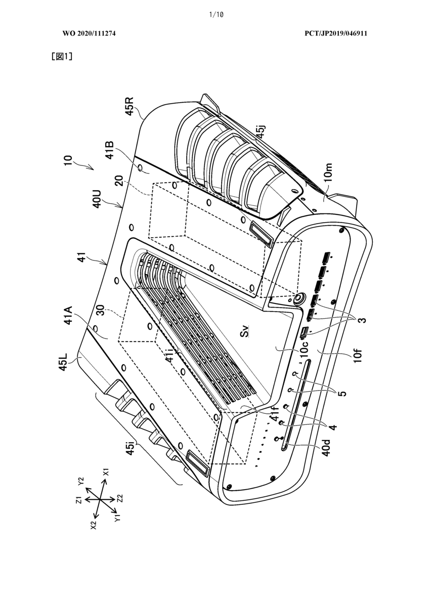
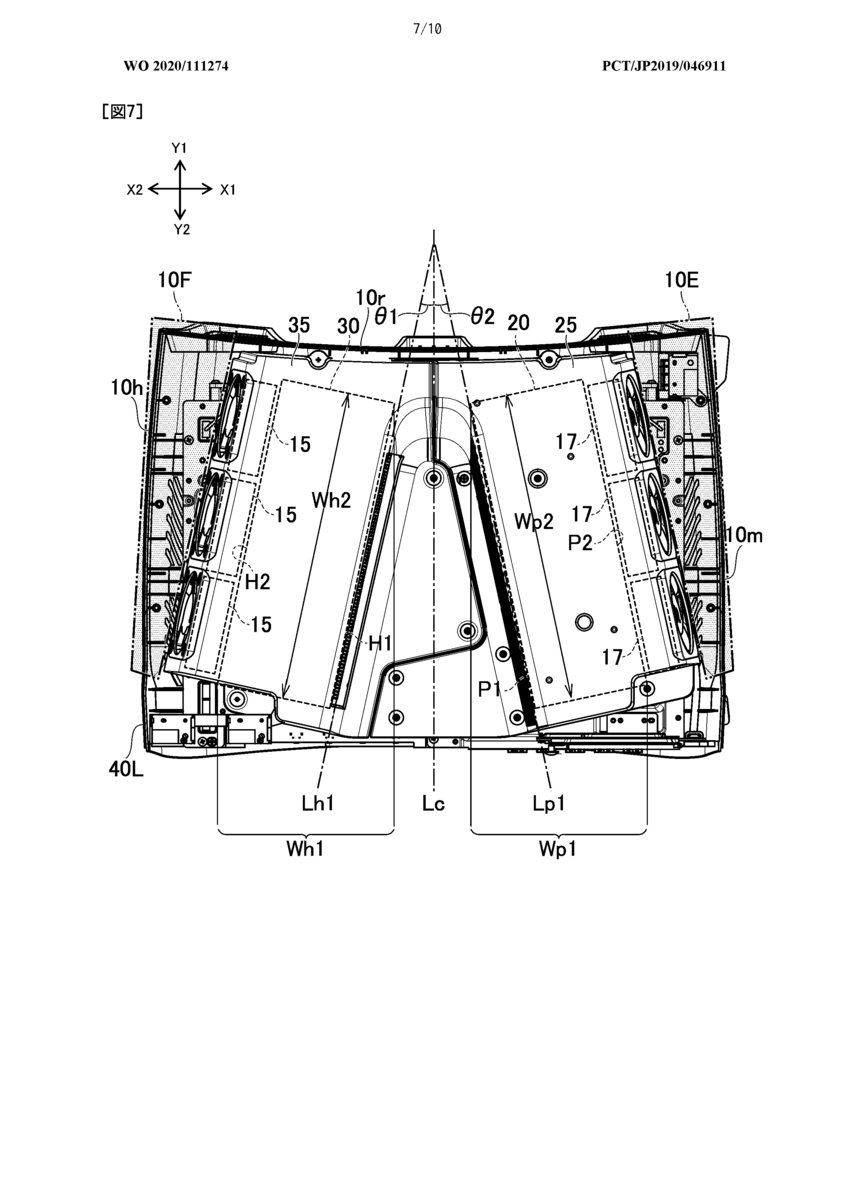
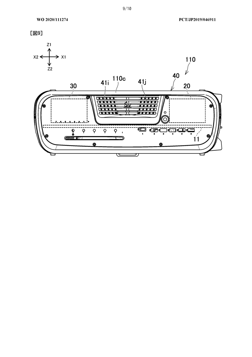
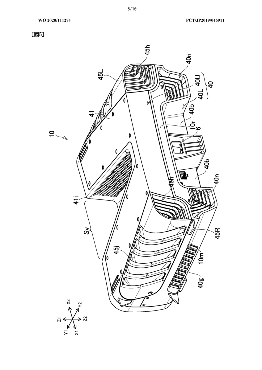
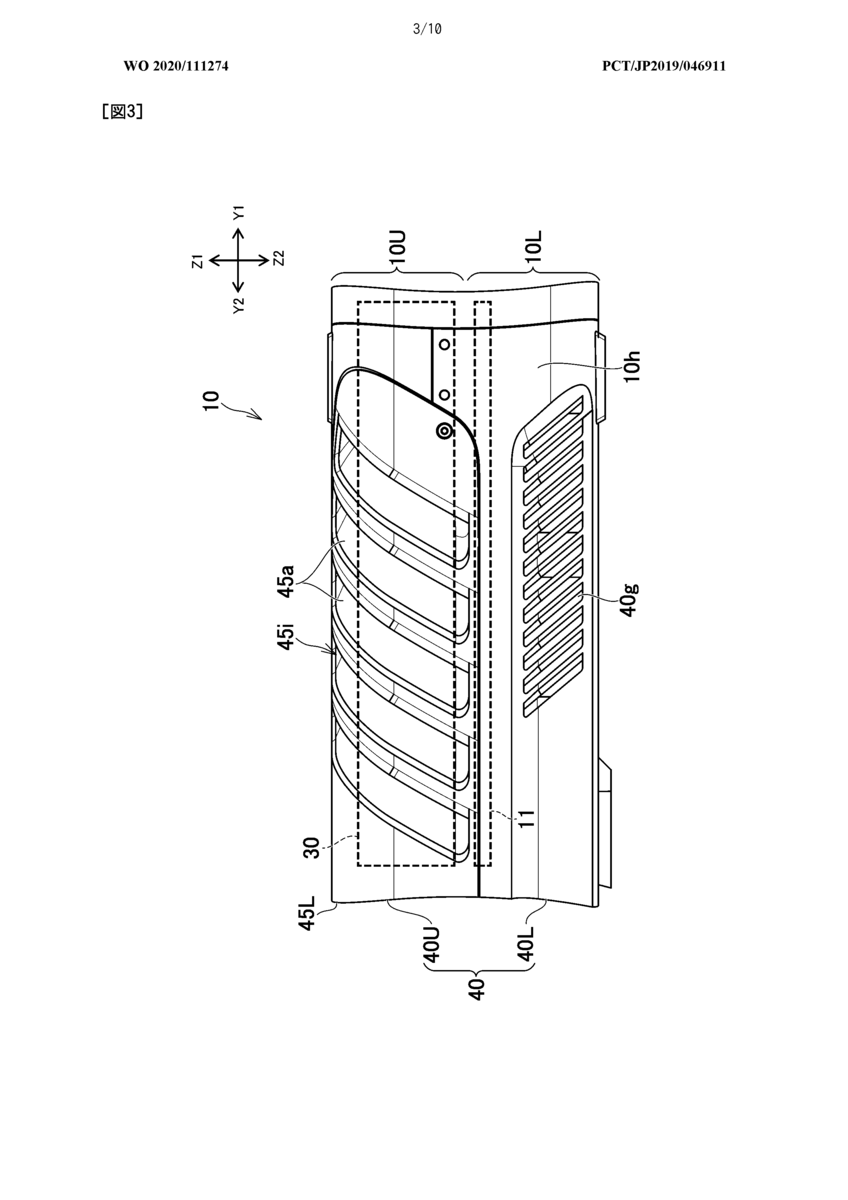
Playstation 5 Patent Zeigt Dass Das Devkit Sechs Lufter Hat
www.pcgameshardware.de

Ps5 Ps4 Pro Kuhlung Optimieren Gamestar Pinboard
www.gamestar.de

Wird Die Ps5 Leiser Als Die Ps4 Sony Plant Angeblich Teuren Lufter
www.gamepro.de

Playstation 5 Chancen Fur Eine Ps5 Vorstellung Im Februar Steigen Winfuture De
winfuture.de

Wie Innovativ Ist Die Playstation 5 Youtube
www.youtube.com

Das Ps5 Patent Neckt Das Design Der Konsole Und Die Clevere Kuhlung Nach Welt
www.nach-welt.com

Heisses Teil Neues Patent Zeigt Die Massive Kuhlung Des Ps5 Dev Kits
www.4kfilme.de

close