Playstation5

Will Ps5 Be Backwards Compatible With Ps4 Games

Https Encrypted Tbn0 Gstatic Com Images Q Tbn 3aand9gcqvgei8yuba2khcflddyjkj2e1kwavrm5i8eibkmud1vrfpyxyp Usqp Cau
encrypted-tbn0.gstatic.com

Ps5 Backwards Compatibility Will Sony S Next Gen Console Play Your Old Games Trusted Reviews
www.trustedreviews.com

Ps5 May Natively Play Ps1 Ps2 Ps3 Game Discs Tweaktown
www.tweaktown.com

Ps5 Games News Sony Set To Reveal Major Backwards Compatibility News Soon Gaming Entertainment Express Co Uk
www.express.co.uk

Gmhyng7l9sch8m

Ps5 Backwards Compatibility Confirmed For Ps4 Will Support Cross Play
fossbytes.com

Ubisoft Says The Ps5 Will Only Be Backwards Compatible With Ps4 Titles News Break
www.newsbreak.com

Ps5 Backwards Compatibility Will Playstation 5 Play Ps4 Games
www.psu.com

Ps5 Backward Compatibility Confirmed Will Play Ps4 Games Tweaktown
www.tweaktown.com

Playstation 4 Backwards Compatability For Ps5 Won T Be 100 At Launch Ps5 Too Fast For Some Titles Tweaks And Testing On Game By Game Basis Resetera
www.resetera.com

Daily Reaction Does Ps5 Backwards Compatibility Matter
www.playstationlifestyle.net

Ps5 Backwards Compatibility Has Sony Made A Mistake Stealth Optional
stealthoptional.com

Ps5 Backwards Compatibility Testing Still Underway For Over 4000 Ps4 Games Push Square
www.pushsquare.com

Ps5 Backward Compatibility Most Ps4 Games Will Work On Next Gen Polygon
www.polygon.com

Sony Is Currently Testing Over 4 000 Ps4 Games For Ps5 Backwards Compatibility Playstation Universe
www.psu.com

Ps5 And Ps4 Players Will Be Able To Play Together Through Backwards Compatibility Sony Says Usgamer
www.usgamer.net

Ps5 Rumored To Be Able To Play All Ps4 Games Without Any Approval From Sony Needed
wccftech.com

Is Ps4 Backwards Compatible Advice On Consoles Gaming Console Deals
www.console-deals.com

Ps5 Console Backwards Compatibility For Ps1 Ps2 Ps3 Ps4 Confirmed By Ubisoft Daily Star
www.dailystar.co.uk

No Ps5 Backwards Compatibility With Ps3 Ps2 And Ps1 Games Has Not Been Confirmed Push Square
www.pushsquare.com

Ps5 Ps4 Ps3 Ps2 Ps1 Backwards Compatibility Update Youtube
www.youtube.com

The Next Sony Console Will Certainly Be Backwards Compatible With Ps4 Games
newsbeezer.com

Ps5 Sony Says It Will Be Backwards Compatible With Over 4000 Ps4 Games Prosygma Cameroun
www.prosygma-cm.com

Ps5 Will Be Backwards Compatible With Ps4 Games Vgc
www.videogameschronicle.com

The Ps5 Could Run Any Ps4 Game But There S A Catch Tom S Guide
www.tomsguide.com

Ps5 Only Backward Compatible With Top 100 Ps4 Games At Launch Older Gen Support Uncertain The Fps Review
www.thefpsreview.com

Is The Ps5 Backwards Compatibility With Ps2 Ps3 And Ps4 Games
news.knowledia.com

3
encrypted-tbn0.gstatic.com

Can I Play My Ps4 Games On Ps5 Android Central
www.androidcentral.com

Backwards Compatibility Means Ps5 Ps4 Cross Gen Play Will Happen
www.vgr.com

Ps5 Will Likely Be Backwards Compatible With Ps4 Pro Will Possibly Launch In 2019 Michael Pachter
gamingbolt.com

Will Ps4 Games Be Playable On Ps5 Screen Rant
screenrant.com

Will Ps4 Games Work On Ps5 Can The Playstation 5 Read A Playstation 4 Disc Stealth Optional
stealthoptional.com

Ps5 And Xbox Series X Backwards Compatibility Is Going To Let Us All Down Tom S Guide
www.tomsguide.com

Ps5 Backwards Compatibility Explained How Ps4 Games Will Be Backwards Compatible With Playstation 5 Eurogamer Net
www.eurogamer.net

Ps5 Will Run 4000 Ps4 Games
www.mensxp.com

How Your Ps4 And Xbox One Games Will Work On Ps5 And Series X Ars Technica
arstechnica.com

Ps5 Details Games Price Release Date Backward Compatibility And More Polygon
www.polygon.com

The Ps5 Will Be Backwards Compatible Thanks To Microsoft Ps5
ps5playstation5.com

Ps5 Backwards Compatibility Can You Play Ps4 Games On Playstation 5 Push Square
www.pushsquare.com

Sony Clarifies Ps5 Backwards Compatibility Says We Believe Most Ps4 Games Will Be Playable
www.kotaku.com.au

The Ps5 Will Be Backwards Compatible Thanks To Microsoft Ps5
ps5playstation5.com

Playstation Boss Confirms That The Ps5 Will Feature 120hz 4k Support And Cross Generational Play
www.techspot.com

Sony Believes The Majority Of Ps4 Games Can Be Played On Ps5 No Word On Ps1 Ps3 Backwards Compatibility One Angry Gamer
www.oneangrygamer.net

Ps5 Backwards Compatible Accessories It Will Support Ps4 Controllers But Not For Next Gen Games News Break
www.newsbreak.com

The Ps5 Will Be Backwards Compatible With Ps4 Discs
www.futuregamereleases.com

Ps4 Controllers Will Work On The Ps5 But Only With Ps4 Games Technology News
gadgets.ndtv.com

Https Encrypted Tbn0 Gstatic Com Images Q Tbn 3aand9gcsmgw3se Tu2y2tysslc Upxdrh9f8p Jxhoxsf Kbbbtkyeo4o Usqp Cau
encrypted-tbn0.gstatic.com

Ps4 Games Could Get A Significant Performance Boost On Ps5 Suggests Sony Backwards Compatibility Patent Push Square
www.pushsquare.com

Sony Explains How Ps4 Accessories Will Work On Ps5 Engadget
www.engadget.com

Ps5 Majority Of The 4 000 Ps4 Titles Will Be Backwards Compatible Sony Says Hardware
sea.ign.com

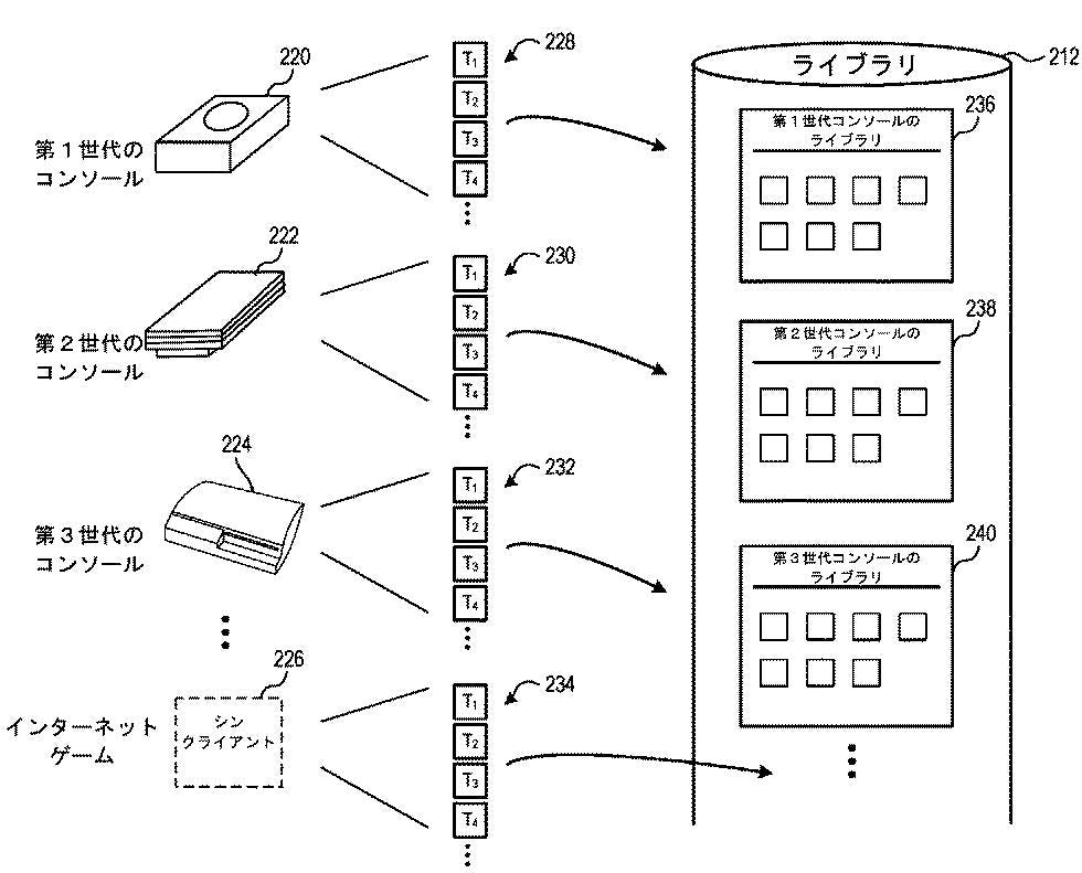
Ps5 Patent Teases Ps1 Ps2 Ps3 Ps4 Backwards Compatibility Tweaktown
www.tweaktown.com

Ps5 Backwards Compatibility How Many Ps4 Games Can You Play Collider
collider.com

Ps5 Rumored To Have Backwards Compatibility For Ps1 Ps2 Ps3 And Ps4
screenrant.com

If You Thought You Were Excited About The Ps5 Before Wait Until You See The Latest Leak Bgr
bgr.com

Ps5 Backward Compatibility Finally Detailed By Sony Here S What You Need To Know Bgr
bgr.com

Talking Point What If The Ps5 Could Play Games From Every Playstation Console Push Square
www.pushsquare.com

Ps4 Ps3 Ps2 Ps1 Backwards Compatibility Update For Ps5 Ps5 Release Date Saga Youtube
www.youtube.com

Ps5 Guide Ultimate Playstation 5 Resource Push Square
www.pushsquare.com

3
encrypted-tbn0.gstatic.com

Ps5 A New Patent On The Backwards Compatibility With Ps1 Games Ps2 Ps3 And Ps4 The Gal Times
thegaltimes.com

I D Be Surprised If The Ps5 Were Not Backwards Compatible Npd Analyst
gamingbolt.com

Gmhyng7l9sch8m

Wifeqp7r3 Xezm

Sony Files Patent That Points To Ps5 Being Backwards Compatible With Ps4 Ps3 Ps2 And Ps1 Youtube
m.youtube.com

Report New Ps4 Games Must Be Compatible With Ps5 In Future
in.ign.com

R53f6n3z E6nam

Sony Playstation 5 Will Be Backwards Compatible With Sony S Ps4 Games Animated Times
www.animatedtimes.com

Sony Will Soon Require Ps5 Support For Ps4 Games Report Gamespot
www.gamespot.com

Ps5 Backwards Compatibility May Require Updates To Support More Ps4 Games Techradar
www.techradar.com

Ps5 Will Be Backwards Compatible With Top 100 Ps4 Games
press-start.com.au

Updated Ps5 Backwards Compatibility May Not Be As Huge As We Hoped Ps1 Ps2 And Ps3 Games Rumoured To Be Left Behind Stealth Optional
stealthoptional.com

Ps5 Will Only Be Backwards Compatible With The Ps4 According To Ubisoft
www.nme.com

Ps5 Backwards Compatibility Will Be Available For Almost All Of The Top Ps4 Games At Launch Gamesradar
www.gamesradar.com

Ps5 Backwards Compatibility Will Playstation 5 Play Ps4 Games
www.psu.com

In Theory Which Ps4 Games Could Benefit Most From Playstation 5 Back Compat Eurogamer Net
www.eurogamer.net

Playstation 5 Backwards Compatible With Almost All Top Ps4 Games At Launch Eurogamer Net
www.eurogamer.net

Ps5 Will Only Be Compatible With Ps4 Games Ubisoft Confirms Techbriefly
techbriefly.com

Ps5 Backwards Compatibility Latest New Playstation Feature Is Literally A Game Changer Gaming Entertainment Express Co Uk
www.express.co.uk

Ps5 Confirmed To Have Backwards Compatibility With Ps4 Fextralife
fextralife.com

Ps5 Backwards Compatibility With Ps4 Sounds Promising But I Want More Techradar
www.techradar.com

Is The Ps5 Backwards Compatible With Ps2 Ps3 And Ps4 Games Android Authority
www.androidauthority.com

Ps5 Backwards Compatibility Will Playstation 5 Play Ps4 Games
www.psu.com

Kpjmfeibgvyswm

Ps4 To Ps5 All Games With Confirmed Free Upgrades Push Square
www.pushsquare.com

Yifcxayiykzffm

Ps5 May Have Backwards Compatibility With Ps4 Games Via Ps Now Analyst Technology News
gadgets.ndtv.com

Ps5 Backward Compatibility Only Works With Ps4 Games Ubisoft Confirms Worldnewsera
worldnewsera.com

Ps5 Backwards Compatibility Will Play Overwhelming Majority Of All Ps4 Games Improved Framerates And Higher Resolutions On Playstation 5 Push Square
www.pushsquare.com

Ps5 Backwards Compatibility Will Be Extensive By Sohrab Osati Sony Reconsidered
sonyreconsidered.com

Sony Ps5 Will Be Able To Play All Your Ps4 Games Thanks To Backwards Compatibility T3
www.t3.com

Ps5 Will Be Backward Compatible With Ps4 Games Sony Reveals Gamerevolution
www.gamerevolution.com

Ps5 Backwards Compatibility Explained How Ps4 Games Will Be Backwards Compatible With Playstation 5 Eurogamer Net
www.eurogamer.net

How Backwards Compatibility Will Work On The Ps5 Ftw Article
gaming.ebaumsworld.com

Ps5 Backward Compatibility Patent Hints At Sony S Bold New Strategy
www.inverse.com

Ps5 Backward Compatibility Will It Play Ps1 Ps2 Ps3 Ps4 Games
www.ibtimes.com

Playstation 5 Backward Compatibility Almost 100 Ps4 Games Available At Launch Polygon
www.polygon.com

What Is Backwards Compatibility The Key Ps5 And Xbox Series X Feature Explained Techradar
www.techradar.com

Ps5 Backwards Compatibility Clarification Overwhelming Majority Of Ps4 Games Will Work Thesixthaxis
www.thesixthaxis.com

Sony Touts Ps5 Multiplayer Backwards Compatibility With Legacy Ps4 Consoles Hothardware
hothardware.com

Ps5 Backwards Compatibility Will Playstation 5 Play Ps4 Games
www.psu.com

Can You Play Ps4 Games On Ps5 Is Ps5 Backwards Compatible Republic World
www.republicworld.com

Ps5 Will Have Backwards Compatibility With Ps4 Arcade Sticks
www.esportstalk.com

Will Every Playstation 4 Game Be Backward Compatible On Playstation 5 Android Central
www.androidcentral.com

close