Playstation5

Ps5 Interface Reveal

Inside Playstation 5 The Specs And The Tech That Deliver Sony S Next Gen Vision Eurogamer Net
www.eurogamer.net

Ps5 8 Details You Might Have Missed In Sony S Big Reveal Vgc
www.videogameschronicle.com

Ps5 Release Date Price Specs Pre Order Sony Playstation 5 News Radio Times
www.radiotimes.com

New Ps5 Patents Reveal Personalized User Interface That Will Help Guide Your Gameplay Dot Esports
dotesports.com

Ps5 System Ui Will Be 100 Overhaul Of Ps4 Ui Xtreme Ps3
www.xtremeps3.com

I Made A Concept Ps5 User Interface Ps5
www.reddit.com

Ps5 Will Feature Revamped Interface Configurable Game Installs
www.videogameschronicle.com

Ps5 Video Shows Minimalist Playstation 5 Game Menu Design T3
www.t3.com

Ps5 Roundup Games Price And Release Date Rumors And What We Know Gamespot
www.gamespot.com

Xbox Series X Interface Revealed Here Are All The Key Features Tom S Guide
www.tomsguide.com

Ps5 Video Shows The Gorgeous User Interface We Want Tom S Guide
www.tomsguide.com

Lxhqkmp3ntobfm

New Ps5 Boot Screen Video Leaked With User Interface Probably Fake Respawnfirst
respawnfirst.com

Sony Teases Ps5 Ui And User Experience Reveal Really Cool Stuff
www.playstationlifestyle.net

New Ps5 Leak Shows Devkit Ui And Ssd Storage Size Rumor Playstation Universe
www.psu.com

Ps5 Video This Playstation 5 Ui Looks Absolutely Stunning T3
www.t3.com

Ps5 Ui Will Be A Complete Overhaul Sony Exec Says Ign
www.ign.com

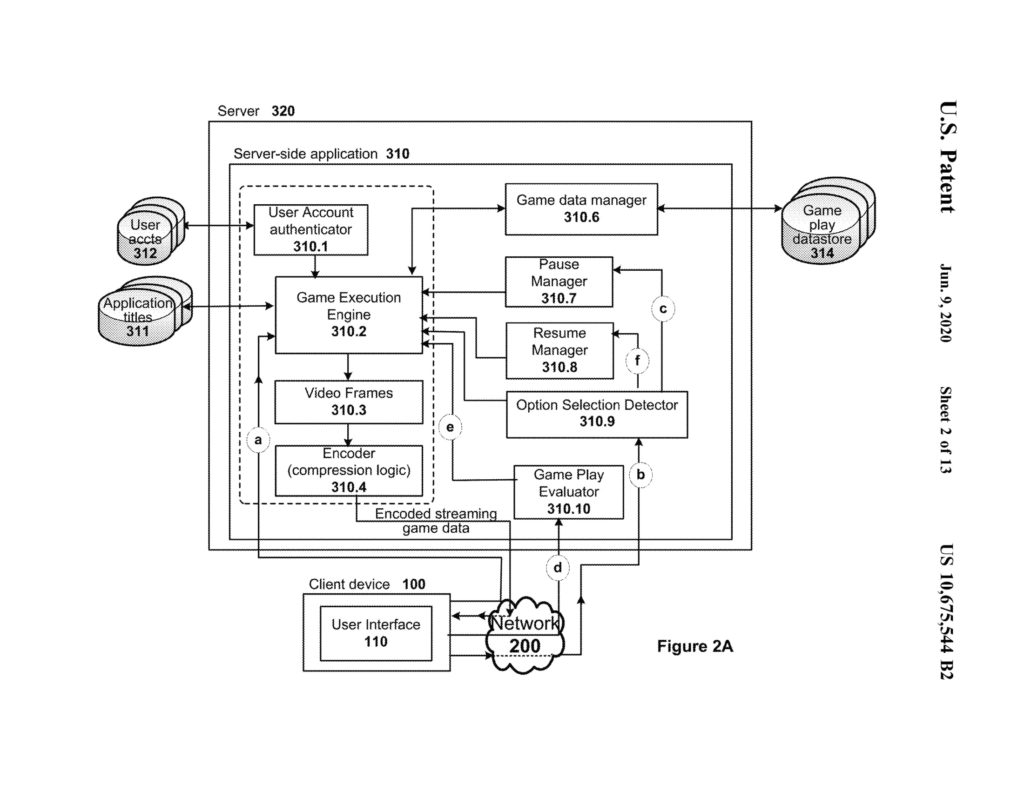
Patent For Direct Gameplay Dynamic Interfaces Teases Ps5 Os
www.playstationlifestyle.net

Ps5 Retail Update Could Force Sony To Reveal Next Gen Interface
www.ccn.com

Sony Promises Redesigned Ps5 Dashboard With No Pixel Untouched The Verge
www.theverge.com

Ps5 Specs Revealed Gpu Cpu Ram Ssd And More Tom S Hardware
www.tomshardware.com

Ps5 Ui Completely Redesigned Special Edition Consoles Will Be Beyond Anything Seen Before News Break
www.newsbreak.com

Stunning Ps5 Ui Concept Is A Minimal Design Dream Creative Bloq
www.creativebloq.com

Playstation Vp Shines Light On The Playstation 5 S User Interface Future Special Editions Addicted To Play
www.addictedtoplay.net

Ps5 Game Reveal Event Is Back On Thursday June 11 Updated Ars Technica
arstechnica.com

Ps5 Ui Will Be A Complete Overhaul Sony Exec Says Ign
www.ign.com

Ps5 Ui Is Rumored To Be Revealed Soon By Sony
www.dualshockers.com

J7 Stppvseh4 M

The Ps5 User Interface Will Be A 100 Percent Overhaul Of The Ps4 Ui
www.destructoid.com

A Playstation 5 Menu Feature Teased Last Year Seems To Have A New Name Usgamer
www.usgamer.net

Moy2fu0pcjpaim

New Leak Shows Off Ps5 User Interface And Reveals More Information About Its Specs
www.mensxp.com

Ps5 Ui Reveal Coming Soon 100 Percent Overhaul Of Ps4 Ui Sony
gamingbolt.com

Playstation 5 Boot Screen And User Interface Concept Youtube
www.youtube.com

The First Ps5 Ui Information Might Have Come From A Patent
press-start.com.au

Ps5 Interface To Be Revealed Soon And It S A 100 Overhaul Of The Ps4 Ui Techradar
www.techradar.com

Ps5 Ui Is A Whole New Visual Language And A Complete Rearchitecting Of The User Interface Ps5
www.reddit.com

Ps5 Ui Leaks Again In A Brand New Screenshot Update It S Fake Playstation Universe
www.psu.com

Ps5 Leak Claims To Reveal An Uncensored Look At The User Interface
www.ccn.com

Ps5 User Interface Reveal Is Coming Says Playstation Boss Push Square
www.pushsquare.com

Ps5 Ui Is Rumored To Be Revealed Soon By Sony
www.dualshockers.com

Fan Makes Impressive Ps5 Ui Concept Game Rant
gamerant.com

Sony Says Ps5 User Interface Is A Complete Overhaul From Ps4
uploadvr.com

Sony Will Show Off Ps5 User Interface With Really Cool Stuff Soon Pure Playstation
pureplaystation.com

Ps5 Dev Kit Ui Leaks New Ps5 Leaks Too Good To Be True Let S Discuss Youtube
www.youtube.com

Ps5 User Interface Ui News Reveal Rumours Features Updates And More Stealth Optional
stealthoptional.com

The Ps5 Interface Will Reportedly Be A Total Overhaul From The Ps4
www.vgr.com

New Sony Patent Hints At Multitasking And A Sub Screen For Ps5
www.thegamepost.com

Ps5 Release Date Specs And News For The Playstation 5 What Hi Fi
www.whathifi.com

Ign Ps5 S Operating System And General User Interface Facebook
www.facebook.com

The Ps5 Interface Will Reportedly Be A Total Overhaul From The Ps4
www.vgr.com

New Playstation 5 Leak Reveals A Boringly Familiar User Interface
www.ccn.com

What Will The Ps5 S User Interface Look Like Ps5 Home
www.ps5home.com

Ps5 2020 Playstation 5 User Interface Reveal Digital Game Gifting Ps5 Latest News 2020 Youtube
www.youtube.com

X2r6oul0hkrrym

Ps5 Video Shows The Gorgeous User Interface We Want Tom S Guide
www.tomsguide.com

Sony S Jim Ryan Teases Ps5 Ui Reveal There S Some Really Cool Stuff To Come On That Playstation Universe
www.psu.com

Ps5 Interface Components By Barbora Dostalova On Dribbble
dribbble.com

Sony Ux Design Head Says Ps5 S Ui Is A 100 Percent Overhaul Of The Current Interface
www.techspot.com

Sony Patent Hints At Possible Playstation 5 Ui Ign Daily Fix Youtube
www.youtube.com

Microsoft Might Have An Edge Over Sony As It Reveals More About Xbox Series X
www.ibtimes.co.uk

Ps5 Retail Update Could Force Sony To Reveal Next Gen Interface
www.ccn.com

First Glimpse At Potential Playstation 5 User Interface Shows Similarity With Ps4 S Ui Notebookcheck Net News
www.notebookcheck.net

Ps5 Sony Confirms Release Date For Playstation 5 Console
www.telegraph.co.uk

Wwudhpq9vxyqtm

New Image Of Playstation 5 User Interface Leaked 2 Tb Ssd Could Be In Store For The Console Notebookcheck Net News
www.notebookcheck.net

I Made A Really Crappy Mockup Of The Ps5 Ui Based On The Leak It S Not Fantastic But If Nothing Else It Was At Least Fun To Make Ps5
www.reddit.com

Ps5 Interface Components By Barbora Dostalova On Dribbble
dribbble.com

Rumor Leaked Ps5 Devkit Interface Looks Familiar And Storage Space Is Small Pure Playstation
pureplaystation.com

Ps5 Console User Interface Leaked Bnib Collector
bnibcollector.com

This Might Be The Ps5 User Interface Of Your Dreams Bgr
bgr.com

Playstation 5 Reveal And Launch Dates May Have Been Delayed But Ps5 Fans Are Busy Dreaming Of 13 Teraflops Notebookcheck Net News
www.notebookcheck.net

Round Up All New Ps5 Info From Sony Name Release Date Controller User Interface And More Push Square
www.pushsquare.com

Playstation Executive Reveals User Interface And Customizability Details For The Ps5 One More Game
onemoregame.ph

This Huge Ps5 Leak Is Our First Peek At The New Playstation Ui Bgr
bgr.com

Ps5 Interface Patents Show Sony S New Solutions Gamepressure Com
www.gamepressure.com

Sony Talks Ps5 Price 100 Overhauled Ui Reveal Coming Soon Ps5 Is Very Customizable Ps5 News Youtube
www.youtube.com

Sony Ps5 Release Date Price Spec News Leaks And Rumors 2020
gadgetsboard.com

Supposed Playstation 5 User Interface Details Leaked By Disgruntled Game Developer And Fan Offers Up Smooth Ui Concept Integrating Official Ps5 Boot Screen Notebookcheck Net News
www.notebookcheck.net

This Might Be The Ps5 User Interface Of Your Dreams Bgr
bgr.com

3
encrypted-tbn0.gstatic.com

Ps5 Event Time In India What Time Is The Ps5 Launch Event Details Inside Republic World
www.republicworld.com

Ps5 Release Date Update Imminent Playstation 5 Reveal Looks Increasingly Likely Gaming Entertainment Express Co Uk
www.express.co.uk

Ps5ui Hashtag On Twitter
twitter.com

Hfpj4tg0f0ucqm

Ps5 Ui Likely To Be Shown Soon Will Be Very Different By Sohrab Osati Sony Reconsidered
sonyreconsidered.com

Playstation Dev Teases Completely Overhauled Playstation 5 Ui Ladbible
www.ladbible.com

Ps5 Leaks Patent May Reveal Sony S Answer To A Killer Xbox Feature
www.inverse.com

Playstation Patent Offers First Rough Look At The Ps5 Menu Gamesradar
www.gamesradar.com

Https Encrypted Tbn0 Gstatic Com Images Q Tbn 3aand9gcqgcalvztyfsko W5yqutf1k Xmpevpjw4n96ak6clwwc Hk8kf Usqp Cau
encrypted-tbn0.gstatic.com

Playstation 5 User Interface Reveal Coming Soon With 100 Overhaul Of Ps4 Sony Confirms Gamer Tweak
gamertweak.com

Sony Ux Design Head Says Ps5 S Ui Is A 100 Percent Overhaul Of The Current Interface
www.techspot.com

Ps5 Video Preview Revealed As Playstation 5 Pre Orders Go Live Online Gaming Entertainment Express Co Uk
www.express.co.uk

Ps5 Operating System Revealed How The Psos And Start Up Screen Have Evolved Over The Years From The Ps1 Ps2 Ps3 And Ps4 To Our First Glimpse Of Playstation 5 Ui
stealthoptional.com

Ps5 Ui Completely Redesigned Special Edition Consoles Will Be Beyond Anything Seen Before
www.glitched.online

Breaking Sony Announces Big News For Playstation 5 Fans Essentiallysports
www.essentiallysports.com

Ps5 User Interface Concept Ps5 News Youtube
www.youtube.com

3
encrypted-tbn0.gstatic.com

Sony Patent Hints At What The Ps5 Ui Could Look Like Ign
www.ign.com

Ps5 Console User Interface Leaked Bnib Collector
bnibcollector.com

Ps5 Here S Your First Look At The Playstation 5 Interface T3
www.t3.com

Ps5 Release Date Playstation 5 Preorders Are Live Expert Reviews
www.expertreviews.co.uk

Https Encrypted Tbn0 Gstatic Com Images Q Tbn 3aand9gctpidld8c1gquabeemuuy8cobyjyuotpcywdvugcleevgafydp0 Usqp Cau
encrypted-tbn0.gstatic.com

New Leak Shows Off Ps5 User Interface And Reveals More Information About Its Specs
www.mensxp.com

close