Playstation5

Ps5 Backwards Compatibility Patent

Ps5 Could Have Backward Compatibility According To New Patent Usgamer
www.usgamer.net

Ps5 Controller Name Features Leaked Release Date Dualshock 5 Backwards Compatibility Patent More Realsport
realsport101.com

New Sony Patent Has Fans Hoping For Ps5 Backward Compatibility Ign
www.ign.com

The Top 9 Features Gamers Expect On The Ps5 Ps5
newsp.developmentinprocess.com

Sony Patent Sparks Playstation 5 Backwards Compatibility Rumours Again Eurogamer Net
www.eurogamer.net

Ps5 Backwards Compatibility Patent Corroborates Earlier Amd Leak Playstation Universe
www.psu.com

Sony Playstation 5 Is All Set To Play Ps1 Ps2 And Ps3 Games According To This Patent
www.shortlist.com

Another Leaked Patent Potentially Hints At More Ps5 Backwards Compatibility Pure Playstation
pureplaystation.com

Ps5 Backwards Compatibility Patent Points To Emulation Power Of Next Playstation
www.newsweek.com

Ps5 Backwards Compatibility Speculation Begins Again As Sony Files Another Patent Push Square
www.pushsquare.com

Ps5 Backwards Compatibility All But Confirmed By Newly Discovered Sony Patent Gamesradar
www.gamesradar.com

Sony Patent Hints At Cloud Based Backwards Compatibility For Ps5 Vg247
www.vg247.com

Ps5 Backwards Compatibility Will Playstation 5 Play Ps4 Games
www.psu.com

Sony Patent Hints At Cloud Based Backwards Compatibility For Ps5 News Break
www.newsbreak.com

Alleged Playstation 5 Patent Reveals Backwards Compatibility With Ps3 Ps2 And Ps1 Technology News Firstpost
www.firstpost.com

Ps5 Backward Compatibility Teased By Patent Game Rant
gamerant.com

Sony Patent Hints At Backwards Compatibility For Ps5 Eteknix
www.eteknix.com

Ps5 Could Be Backwards Compatible Letting You Play All Your Old Games Again
www.thesun.co.uk

New Ps5 Backwards Compatibility Patent Uncovered The Nexus
nexushub.co.za

Ps5 A New Patent On The Backwards Compatibility With Ps1 Games Ps2 Ps3 And Ps4 The Gal Times
thegaltimes.com

Leaked Patent Will Playstation 5 Offer Backwards Compatibility Down To Playstation 1 Esports Com
www.esports.com

Ps5 Patent Teases Ps1 Ps2 Ps3 Ps4 Backwards Compatibility Tweaktown
www.tweaktown.com

Sony Files Patent For Cloud Based Backwards Compatibility On Ps5 Stevivor
stevivor.com

Patent Hints At Possible Playstation 5 Backwards Compatibility Notebookcheck Net News
www.notebookcheck.net

Ps5 Backwards Compatibility Patent Corroborates Earlier Amd Leak Playstation Universe
www.psu.com

Ps5 Backwards Compatibility Likely Ps Now Patent Invigorates Debate On Whether Cerny S Playstation 5 Bc Graphic Was Deliberately Incomplete Notebookcheck Net News
www.notebookcheck.net

Ps5 Patent Suggests Cloud Based Take On Backwards Compatibility Metro News
metro.co.uk

New Patent By Sony Hints At Ps5 Backwards Compatibility Segmentnext
segmentnext.com

Sony Patent Suggests Ps5 Plays Ps1 Ps2 And Ps3 Games Via Cloud
gamerant.com

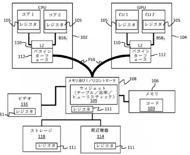
New Potential Ps5 Backward Compatibility Patent Filed By Sony Tries To Emulate Bus Operation Of Legacy Devices Inportrade The Fair Price Of Your Iphone
inportrade.com

Sony S Ps5 Backwards Compatibility Patent Mechanics Revealed Geek Culture
geekculture.co

Updated Ps5 Backwards Compatibility May Not Be As Huge As We Hoped Ps1 Ps2 And Ps3 Games Rumoured To Be Left Behind Stealth Optional
stealthoptional.com

New Ps5 Patent Points To Backwards Compatibility Keengamer
www.keengamer.com

What Can This Japanese Patent Tell Us About Ps5 Backward Compatibility Ars Technica
arstechnica.com

Ps5 Backward Compatibility Patent Details Sony S Plans To Run Legacy Software Faster On New Hardware
gamingbolt.com

Backwards Compatibility For Ps5 Might Be Happening
www.ps4playstation4.com

Ps5 Backwards Compatibility Teased With New Sony Patent Ladbible
www.ladbible.com

Sony Ps5 Backward Compatibility Game Hopes Raised By Patent Slashgear
www.slashgear.com

Ps5 Patent Raises Hopes About Ps1 Ps2 And Ps3 Backwards Compatibility Gaming Entertainment Express Co Uk
www.express.co.uk

Sony Has Filed A Patent For Backwards Compatibility
www.vgr.com

Sony Patent Alludes To Backward Compatibility Mode For Ps5 Gamesradar
www.gamesradar.com

New Patent Confirms Ps5 Backwards Compatibility For All Generations Youtube
www.youtube.com

Sony Patent Hints At Ps5 Backwards Compatibility For Older Playstation Games News Break
www.newsbreak.com

Ps5 Backward Compatibility Patent Hints At Sony S Bold New Strategy
www.inverse.com

Sony Files Patent That Points To Ps5 Being Backwards Compatible With Ps4 Ps3 Ps2 And Ps1 Youtube
m.youtube.com

Ps5 Backwards Compatibility Patent Hints At Ps4 Game Performance Boost
www.vgr.com

Ps5 Backwards Compatibility To Make Ps4 Games Run Faster According To Sony Patent The Mako Reactor
themakoreactor.com

Spawn Wave On Twitter This Patent Could Finally Show Us That The Ps5 Will Be Backwards Compatible Check Out The Latest Rumor Wave Here Https T Co Kx7gwlnxok Sony Ps5 Playstation Https T Co La3ug27edv
twitter.com

Sony Confirms Ps5 Backward Compatibility By Filling Patent Playstati Playstation 5 Meant To Be Together Playstation
www.pinterest.com

Sony Ps5 Backward Compatibility Game Hopes Raised By Patent Slashgear
www.slashgear.com

New Patent Filed By Sony Points To Backwards Compatibility On The Ps5 Ps5
ps5playstation5.com

Ps5 Backwards Compatibility Suggested By Sony Patent News Break
www.newsbreak.com

Ps5 Could Ship With Backwards Compatibility Support Sony Patent Hints Technology News
gadgets.ndtv.com

Ps5 Will Likely Have Backwards Compatibility With Past Games Gametyrant
gametyrant.com

Ps5 Patent Is Most Promising Hint At Backward Compatibility Yet
screenrant.com

Sony Patent Suggests Ps1 Ps2 And Ps3 Could Be Backwards Compatible Via The Cloud Ign
www.ign.com

Playstation 5 Backwards Compatibility Does New Patent Shine A Light On Sony S Plans Daily Star
www.dailystar.co.uk

Possible Playstation 5 Patent Details Backward Compatibility Lowyat Net
www.lowyat.net

Ps5 Backwards Compatibility Patent Points To Emulation Power Of Next Playstation
www.newsweek.com

Sony Registers Another Backwards Compatible Patent For The Ps5 Sa Gamer
sagamer.co.za

Ps5 Backwards Compatibility Patent Points To Emulation Power Of Next Playstation
www.newsweek.com

Ps5 Backwards Compatibility Suggested By Sony Patent Push Square
www.pushsquare.com

Ps5 Patent Suggests Cloud Based Take On Backwards Compatibility Metro News
metro.co.uk

Ps5 Could Be Backward Compatible With Ps4 Games Tweaktown
www.tweaktown.com

Patent Hints At Playstation 5 S Extended Backwards Compatibility
www.altchar.com

Sony Patent Suggests Playstation Backward Compatibility Will Happen In The Cloud Pcmag
www.pcmag.com

Patent By Sony Hinted On A Backwards Compatible Ps5 Sirus Gaming
sirusgaming.com

Sony Files Ps5 Backward Compatibility Patent Rumors Becoming A Reality Virtual Oracle
www.virtualoracle.com

Ps5 Backwards Compatibility Patent Corroborates Earlier Amd Leak The Tech Game
www.thetechgame.com

Sony Files Ps5 Backward Compatibility Patent Youtube
www.youtube.com

Ps5 Patent Suggests Backwards Compatibility With Ps1 Ps2 And Ps3 By Streaming Gamepressure Com
www.gamepressure.com

New Sony Patent Could Mean Complete Backwards Compatibility On Playstation 5
www.techspot.com

Sony Patent Hints At Cloud Based Backwards Compatibility For Ps5 Vg247
www.vg247.com

Ps5 Patent Is Most Promising Hint At Backward Compatibility Yet
screenrant.com

Sony Registers New Patent For Ps5 Backwards Compatibility Tweaktown
www.tweaktown.com

Ps5 Backwards Compatibility Speculation Begins Again As Sony Files Another Patent Push Square
www.pushsquare.com

Sony S Ps5 Backwards Compatibility Patent Mechanics Revealed Geek Culture
geekculture.co

Sony Patent Hints At Backwards Compatibility For Ps5 Eteknix
www.eteknix.com

Playstation 5 Patent Hints At Backward Compatibility Cloud Gaming Den Of Geek
www.denofgeek.com

Sony Patent Sparks Playstation 5 Backwards Compatibility Rumours Again Eurogamer Net
www.eurogamer.net

New Patent Hints How The Ps5 Will Handle Backwards Compatibility
comicbook.com

Ps5 Only On Twitter This Patent Could Possibly Mean Full Backwards Compatibility For Ps5 And If So Would Explain The Space Within Ps5 System Architect Mark Cerny S Graphic Playstation Sony Cerny
twitter.com

Ps5 Backwards Compatibility Suggested By Sony Patent Push Square
www.pushsquare.com

Ps5 Backwards Compatibility Hinted At By New Patent The Tech Game
www.thetechgame.com

This Sony Patent Shows Ps5 Backwards Compatibility Could Boost More Than Load Times Gamesradar
www.gamesradar.com

Ps5 Backwards Compatibility Patent Points To Emulation Power Of Next Playstation
www.newsweek.com

Ps5 Backwards Compatibility Will Playstation 5 Play Ps4 Games
www.psu.com

Patents Suggest Ps5 May Be Backwards Compatible Gaming Instincts
www.gaminginstincts.com

Sony Registers Another Backwards Compatible Patent For The Ps5 Sa Gamer
sagamer.co.za

Sony Patent Sparks Playstation 5 Backwards Compatibility Rumours Again Eurogamer Net
www.eurogamer.net

How Will Ps Now Work On Ps5 Will Sony S Backwards Compatibility Patent Bring Ps1 Ps2 And Ps3 Games To Ps Now Stealth Optional
stealthoptional.com

Ps5 Not Backward Compatible With Ps3 Ps2 Or Psone Ubisoft Says Polygon
www.polygon.com

New Sony Patent May Solve The Ps5 S Biggest Mystery
www.ccn.com

Sony Receives Second Patent For Backward Compatibility Lowyat Net
www.lowyat.net

Ps5 Could Ship With Backwards Compatibility Support Sony Patent Hints Technology News
gadgets.ndtv.com

The Ps5 Could Be Backwards Compatible According To A Sony Patent Dexerto
www.dexerto.com

Sony Registers New Patent For Ps5 Backwards Compatibility Tweaktown
www.tweaktown.com

Ps5 Could Support V Sync And Backwards Compatibility Patents Suggest
gamingbolt.com

Playstation 5 News Possible Backwards Compatibility With Ps4 Ps3 Ps2 And Psx Systems Hinted By Sony Filing A Patent About A Method For More Accurate Backwards Compatibility Could The Ps5 Be
wololo.net

Updated Ps5 Backwards Compatibility May Not Be As Huge As We Hoped Ps1 Ps2 And Ps3 Games Rumoured To Be Left Behind Stealth Optional
stealthoptional.com

close