Playstation5

Is Ps5 Backwards Compatible With Ps1

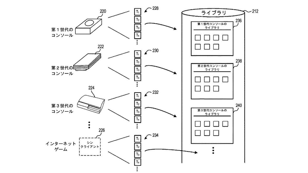
Mvbtlnh7o8arrm

Sony Files Patent That Points To Ps5 Being Backwards Compatible With Ps4 Ps3 Ps2 And Ps1 Youtube
m.youtube.com

Ps5 Backwards Compatibility Rumor Points To Ps1 Ps2 Ps3 Support Playstation Universe
www.psu.com

If You Thought You Were Excited About The Ps5 Before Wait Until You See The Latest Leak Bgr
bgr.com

Recently There S An Influx Of Ps5 Backwards Compatible Articles On Google Reporting It Will Play Ps1 Through Ps4 Titles If It S True Much Respect To Sony Ps3
www.reddit.com

Ps5 Backward Compatibility Will It Play Ps1 Ps2 Ps3 Ps4 Games
www.ibtimes.com

5ftwjeweo Zcnm

Sony Playstation 5 Rumored To Be Backward Compatible All The Way Till Ps1 Touted To Be Lower Powered Than The Xbox Series X To Meet A Us 399 Target Notebookcheck Net News
www.notebookcheck.net

Kofi On Twitter The Ps5 Will Not Have Any Ps1 Ps2 Ps3 Backwards Compatibility And Only About 100 Ps4 Games Will Work At Launch Playstation5 Https T Co J7neohkr2w
twitter.com

Sony Believes The Majority Of Ps4 Games Can Be Played On Ps5 No Word On Ps1 Ps3 Backwards Compatibility One Angry Gamer
www.oneangrygamer.net

Sony Confirms Playstation 5 Will Not Be Backwards Compatible With Ps1 3
www.cbr.com

The Ps5 Will Be Backwards Compatible Thanks To Microsoft Ps5
ps5playstation5.com

Ps5 Patent Teases Ps1 Ps2 Ps3 Ps4 Backwards Compatibility Tweaktown
www.tweaktown.com

Rumor Sony Planning On Full Ps5 Backwards Compatibility Ps1 Ps2 Ps3 And Ps4 4k Enhancements Youtube
www.youtube.com

Ubisoft Claims Ps5 Won T Be Backwards Compatible With Ps1 Ps2 Or Ps3 Games Playstation 4 Playstation 3 News At Playstationtrophies Org
www.playstationtrophies.org

Ps5 Backwards Compatibility Explained How Ps4 Games Will Be Backwards Compatible With Playstation 5 Eurogamer Net
www.eurogamer.net

Ps5 May Natively Play Ps1 Ps2 Ps3 Game Discs Tweaktown
www.tweaktown.com

Playstation 5 Backward Compatibility Could Support Games From Ps1 Ps2 Ps3 And Ps4 Sportbible
www.sportbible.com

Alleged Playstation 5 Patent Reveals Backwards Compatibility With Ps3 Ps2 And Ps1 Technology News Firstpost
www.firstpost.com

Ps5 Backwards Compatibility Will Cover All Ps2 Ps3 And Ps4 Games According To Turkish Retailer Notebookcheck Net News
www.notebookcheck.net

Ps5 Backwards Compatibility Has Sony Made A Mistake Stealth Optional
stealthoptional.com

Gaming Developer Explains Why The Ps5 Will Not Be Backward Compatible With Ps3 Ps2 And Ps1
www.explica.co

Ps5 Will Not Be Backwards Compatible With Ps1 Ps2 And Ps3 Titles According To Ubisoft Support Millenium
www.millenium.gg

Full Ps5 Backwards Compatibility With Ps4 Ps3 Ps2 And Ps1 Games Hinted At By Ubisoft Youtube
m.youtube.com

Ps5 Backwards Compatibility Can You Play Ps3 Ps2 And Ps1 Games On Playstation 5 Push Square
www.pushsquare.com

Gmqltmqsqwztym

Playstation 5 Backwards Compatibility For Ps1 Ps2 And Ps3 Games Could Be Provided By A Revamped Ps Now Service With Upscaling Capabilities Notebookcheck Net News
www.notebookcheck.net

Poll How Much Does Ps5 Backwards Compatibility Matter To You Push Square
www.pushsquare.com

C9f1e4taaxaf5m

Ps5 Won T Play Ps1 Ps2 Or Ps3 Discs 100 Ps4 Games Support At Launch Tweaktown
www.tweaktown.com

Ubisoft Retracts Ps5 Backward Compatibility Statement Update Usgamer
www.usgamer.net

Ps5 Backwards Compatibility Update Bad News For Ps3 Ps2 And Psone Fans Gaming Entertainment Express Co Uk
www.express.co.uk

Ps5 Not Backward Compatible With Ps3 Ps2 Or Psone Ubisoft Says Polygon
www.polygon.com

No Playstation 5 Backwards Compatibility For Ps1 Ps2 And Ps3 Titles And Very Fake Looking Hefty Ps5 Retail Box Gets Overshadowed By Miles Morales Concept Design Notebookcheck Net News
www.notebookcheck.net

The Ps5 Will Be Backwards Compatible Thanks To Microsoft Ps5
ps5playstation5.com

Ps5 Backward Compatibility Patent Hints At Sony S Bold New Strategy
www.inverse.com

Ps5 Won T Be Backwards Compatible With Ps3 Ps2 And Ps1 Games Ubisoft Trusted Reviews
www.trustedreviews.com

Rjqe7dxtaoqe0m

Don T Expect Playstation 5 To Play Ps1 Ps2 Or Ps3 Game Discs Tweaktown
www.tweaktown.com

Rumour Playstation 5 To Have Backwards Compatibility With Ps1 Ps2 Ps3 Ps4 Fextralife
fextralife.com

Ps5 Console Backwards Compatibility For Ps1 Ps2 Ps3 Ps4 Confirmed By Ubisoft Daily Star
www.dailystar.co.uk

Ps5 Backwards Compatibility Will Sony S Next Gen Console Play Your Old Games Trusted Reviews
www.trustedreviews.com

3
encrypted-tbn0.gstatic.com

6nsw89z0ikyrnm

Will The Ps5 Be The Holy Grail Of Backwards Compatibility With Ps1 3 Support Ign Daily Fix Ign
www.ign.com

Here S Why The Ps5 Likely Won T Be Backwards Compatible With Every Playstation Console Bgr
bgr.com

No Ps5 Backwards Compatibility With Ps3 Ps2 And Ps1 Games Has Not Been Confirmed Push Square
www.pushsquare.com

Ddrwjicgjv91zm

Ps5 Backward Compatibility With Ps3 Ps2 Ps1 Rumor Refuted
gamerant.com

Ps5 Backwards Compatibility Can You Play Ps3 Ps2 And Ps1 Games On Playstation 5 Push Square
www.pushsquare.com

Https Encrypted Tbn0 Gstatic Com Images Q Tbn 3aand9gcstruwi A G8smzqoiojhyac25c4frztv9clgncamqoknifc1is Usqp Cau
encrypted-tbn0.gstatic.com

Sony Confirms Ps5 Backwards Compatibility Won T Extend To Classics
www.playstationlifestyle.net

Ps5 Backwards Compatibility Ps1 Ps3 Rumors Are Likely Nonsense Playstation Universe
www.psu.com

Updated Ps5 Backwards Compatibility May Not Be As Huge As We Hoped Ps1 Ps2 And Ps3 Games Rumoured To Be Left Behind Stealth Optional
stealthoptional.com

3
encrypted-tbn0.gstatic.com

Sony Makes It Official Playstation 5 Won T Natively Support Ps1 Ps2 Ps3 Ars Technica
arstechnica.com

Ps5 Has No Backward Compatibility With Ps1 Ps2 And Ps3 Says Ubisoft
newsbeezer.com

Ps5 Isn T Backwards Compatible With Ps1 Ps2 Or Ps3 Games Vgc
www.videogameschronicle.com

Sony Ps5 Backward Compatible With Ps1 Ps2 Psp Ps3 Ps4 Games And All Ps4 Accessories Small Tech News
www.smalltechnews.com

Buibtycj3wtfam

Kgr3z61pztgsem

Ps5 Backwards Compatibility Can You Play Ps4 Games On Playstation 5 Push Square
www.pushsquare.com

10tapjgiybbnvm

Sony Files Patent For Backwards Compatibility Ps1 Ps2 Ps3 Ps4 Backwards Compatibility Youtube
www.youtube.com

Instant Gaming On Twitter Ps5 Won T Be Backwards Compatible With Ps3 Ps2 Or Ps1 Says Ubisoft Https T Co 7boonhfq1j
twitter.com

Ps5 Backwards Compatibility But No Ps1 Ps2 Ps3 Games Earlygame
www.earlygame.com

Qcugmymttdb8em

Ps4 Ps3 Ps2 Ps1 Backwards Compatibility Update For Ps5 Ps5 Release Date Saga Youtube
www.youtube.com

Ps5 And Xbox Series X Backwards Compatibility Is Going To Let Us All Down Tom S Guide
www.tomsguide.com

Szsje84ealvfwm

Playstation S 25th Anniversary New Ps5 Info Big Backwards Compatibility Announcement Youtube
www.youtube.com

Ps5 Rumored To Have Backwards Compatibility For Ps1 Ps2 Ps3 And Ps4
screenrant.com

Is The Ps5 Backward Compatible Android Authority
www.androidauthority.com

Ps5 Backwards Compatibility Here S How Ps1 Games Could Get Enhanced By Sony Gaming Entertainment Express Co Uk
www.express.co.uk

The Ps5 Will Be Backwards Compatible Thanks To Microsoft Ps5
newsp.developmentinprocess.com

Petition Make Ps5 Backwards Compatible With Ps1 Ps2 And Ps3 Games Change Org
www.change.org

Ps5 Backward Compatibility Doesn T Include Ps1 Ps2 Or Ps3 Games Says Ubisoft
wccftech.com

There Will Be No Backward Compatibility For Ps1 Ps2 And Ps3 Games According To Ubisoft Electrodealpro
electrodealpro.com

Why You Shouldn T Worry About Ps5 Backwards Compatibility Feature Push Square
www.pushsquare.com

Https Encrypted Tbn0 Gstatic Com Images Q Tbn 3aand9gcr3vwxp8e4wzxx2nun0t81lkbdnvjuaefuksg7akxe2sh06fanf Usqp Cau
encrypted-tbn0.gstatic.com

Rumor Ps5 Will Be Backwards Compatible For Ps1 Ps4 Games Gaming Lite News
glitenews.com

Playstation 5 Backward Compatibility Could Support Games From Ps1 Ps2 Ps3 And Ps4 Sportbible
www.sportbible.com

Ps5 A New Patent On The Backwards Compatibility With Ps1 Games Ps2 Ps3 And Ps4 The Gal Times
thegaltimes.com

Ps5 Could Be Backwards Compatible With Ps1 Ps2 And Ps3 Laptop Mag
www.laptopmag.com

Hip Hop Gamer Says Ps5 Will Remaster Backwards Compatibility Games Going Back To Ps1 Geektyrant
geektyrant.com

The Ps5 Is Reportedly Not Backwards Compatible With Ps3 Ps2 And Ps1 Games Ungeek
www.ungeek.ph

Playstation 5 Backwards Compatibility With The Ps4 Ps3 Ps2 And Ps1 Noypigeeks
www.noypigeeks.com

Ps5 Not Backwards Compatible With Ps1 Ps2 Ps3 Real Otaku Gamer Real Otaku Gamer Is Your Source For Geek Culture Goodness
realotakugamer.com

Ps5 Rumored To Have Backwards Compatibility For Ps1 Ps2 Ps3 And Ps4
screenrant.com

Ps5 Might Not Be Backwards Compatible With Ps3 Ps2 Ps1 Games Save State
tecrobust.com

Gd9 Dflvdkgbdm

Ps5 Games News Sony Set To Reveal Major Backwards Compatibility News Soon Gaming Entertainment Express Co Uk
www.express.co.uk

Ubisoft Says Ps5 Lacks Backwards Compatibility With Ps3 Ps2 Ps1 Amd3d
www.amd3d.com

Will The Ps5 Be The Holy Grail Of Backwards Compatibility With Ps1 3 Support Ign Daily Fix Youtube
www.youtube.com

Developer Explains Why Ps5 Is Not Compatible With Ps1 Ps2 And Ps3 Itigic
itigic.com

The Ps5 Will Not Be Backwards Compatible With Ps1 Ps2 And Ps3 Gamereactor
www.gamereactor.eu

Update Ubisoft Support Page Reveals That The Ps5 Is Not Backwards Compatible With Ps3 Ps2 And Ps1 Games Playstation Universe
www.psu.com

Ps5 Ps4 Ps3 Ps2 Ps1 Backwards Compatibility Update Youtube
www.youtube.com

Gmhyng7l9sch8m

Ps5 Patent Raises Hopes About Ps1 Ps2 And Ps3 Backwards Compatibility Gaming Entertainment Express Co Uk
www.express.co.uk

Ps5 Could Be Backwards Compatible With Ps1 Ps2 And Ps3 Laptop Mag
www.laptopmag.com

F3mzfukuno96pm

Ps5 Backwards Compatibility No Support For Ps3 Ps2 Or Ps1 Games Says Ubisoft Gamespot
www.gamespot.com

Ps5 Backward Compatibility With Ps3 Ps2 And Ps1 Games In Doubt Techradar
www.techradar.com

close